Apple Persiapkan iPhone Tahan Air

Dibandingkan vendor lain yang sudah memiliki jajaran piranti tangguh yang tahan air dan tahan banting, Apple termasuk salah satu vendor yang belum memiliki keunggulan tersebut. Namun nampaknya Apple terus memikirkan akan hal tersebut dan bahkan berencana untuk membuat smartphone yang memiliki keunggulan waterproof. Hal ini ditunjukkan dari sebuah paten yang diajukan Apple yang di dalamnya berisi konsep sebuah smartphone dengan kemampuan tahan air, namun tentunya tak sekedar tahan air karena sistematikanya cukup berbeda dibanding yang sudah ada saat ini.
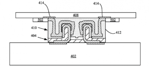
Dari laman 9to5Mac, disebutkan bahwa dibanding membuat casing tahan air, paten yang diajukan Apple mendeskripsikan sebuah metode dari komponen internal yang tahan air dengan mengintegrasikan lapisan hidrofobik dengan perisai interferensi elektromagnetik yang digunakan untuk melindungi elektronik yang sensitif. Hal ini akan menjadi pendekatan yang lebih baik dibanding menggunakan casing tahan air yang bisa dikompromikan dengan desain ponsel.

Dan meskipun membuat iPhone tahan air bukan menjadi salah satu prioritas Apple, namun banyak para penggemar iPhone yang mengharapkan hal tersebut bisa diwujudkan Apple di masa depan. Untuk saat ini sendiri iPhone pun bisa dibuat tahan air dengan menambahkan casing buatan pihak ketiga termasuk sebuah inovasi baru berupa semprotan seharga $30 yang bisa digunakan untuk melindungi iPhone supaya tahan air. Namun tentunya memiliki piranti yang benar-benar tahan air tanpa membutuhkan alat bantu tambahan akan membuatnya menjadi berbeda.
Paten ini sendiri sebenarnya sudah dimasukkan Apple sejak tahun lalu namun baru dipublikasikan beberapa hari yang lalu. Dan meskipun tidak disebutkan pirantinya secara spesifik, namun iPhone menjadi piranti yang paling masuk akan untuk diberikan fitur tahan air tersebut. Yang lebih menarik lagi, ternyata paten ini juga hadir tepat di saat Samsung juga memutuskan untuk memilih waterproofing alias fitur tahan air sebagai salah satu fitur kunci dari jajaran Galaxy S miliknya. Jadi kita tunggu saja ‘perang’ fitur terbaru antara dua pemimpin smartphone dunia tersebut.
















