Nike Rilis Sepatu Canggih dan Unik
Masih ingat film Back to the Future? Pada tahun 80-an film tersebut ternyata masih tetap melegenda hingga saat ini. Tokoh Marty McFly yang diperankan Michael J Fox dan Dr. Emmet Brown (Christopher Lloyd) menjadi Icon utama dalam cerita film tersebut. Dalam film ini, banyak mengulas beragam teknologi masa depan yang disematkan, selain mobil yang bisa menembus masa depan, seperti hoverboard (Skateboard terbang) bahkan sepatu Nike yang bisa mngencangkan tali sendiri turut hadir.

Hampir 30 tahun berlalu sejak film tersebut dirilis, produsen pembuat sepatu ternama, Nike diminta untuk berkalobrasi didalamnya. Mereka ditantang untuk menciptakan sepatu futurustik pada saat itu, dan tim desainer sepatu Nike akhirnya menjawab tantangan tersebut. Pabrikan Nike dikabarkan terlah berhasil membawa sepatu tersebut ke dunia nyata. Dan kebetulan momen tersebut sangat tepat dengan film Back to the Future II yang pada waktu itu memang di set pada tahun masa depan. yaitu tahun 2015.

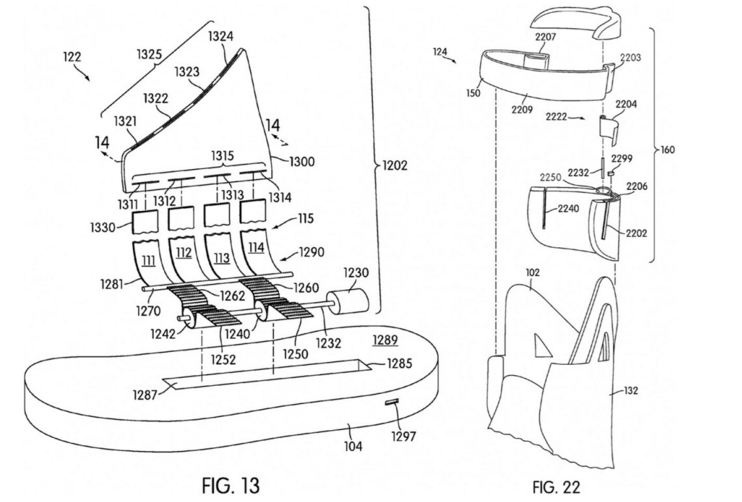
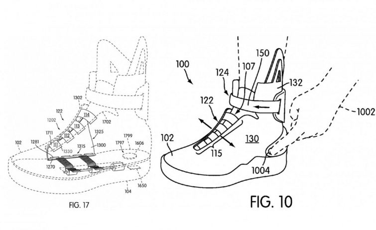
Bagaimana sepatu ini bekerja? Ternyata pabrikan Nike menempatkan teknologi yang lumayan canggih pada sepatu ini selain teknologi mekanisme dengan motor mungil dan dua belt yang dihubungkan dengan tali sepatu. Semua fungsi mekanisme akan otomatis bekeja setelah sensor yang berada di area tumit sepatu membaca berat badan dan langsung mengencangkan tali dan otomatis menguncinya. Fungsi manual juga disertakan di samping sepatu, dimana pengguna dapat secara manual mengendurkan atau mengencangkan sesuai keinginan.

Akhirnya secara resmi, Nike memberikan sepatu canggih ini kepada Michael J Fox. Sepatu ini rencananya akan dilelang untuk yayasan yang dikelola aktor tersebut untuk membantu penderita penyakit parkinson. Bagi Anda yang berkeinginan memiliki sepatu canggih ini tampaknya harus gigit jari. Pasalnya pihak Nike belum merencanakan akan memproduksi sepatu canggihnya secara massal.














