Xiaomi 13 Lite Bakal Ikut Debut di MWC 2023
NVIDIA GeForce RTX 4070 non-Ti Bakal Meluncur April?
YouTube Creator Music Tersedia untuk Amerika Serikat
Lies of P Pamer Trailer Baru
Tango Kerjakan The Evil Within 3?
Huawei MatePad SE 10.4 dengan Layar 2K Diumumkan
Microsoft Akui Game yang Masuk Game Pass Akan Alami Penurunan Penjualan
Dead Island 2 Rampung, Rilis Seminggu Lebih Cepat
Salah Jawab, Chatbot AI Bard Rugikan Google 100 Miliar Dolar AS
Fans Racik Ulang Dark Souls III dengan Unreal Engine 5
Samsung Luncurkan Virtual Experience World, Kenallkan Teknologi Neo QLED dan TV Lifstyle Lainnya
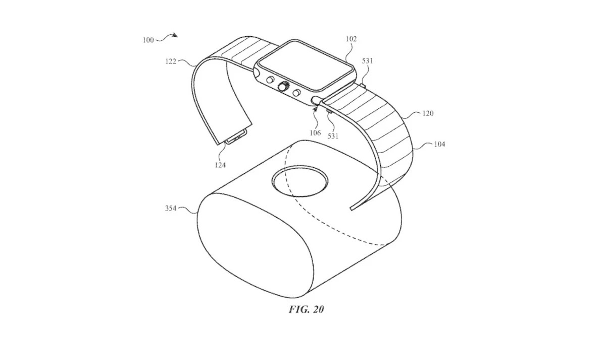
Apple Patenkan Kamera Apple Watch, Pakai Sistem Strap Quick Release
Huawei Nova 11 Akan Punya “Dynamic Island” Mirip iPhone 14 Pro?
Windows 11 Bakal Punya Fitur untuk Atur Semua Perangkat RGB
Cegah Teroris Sushi, Resto Ini Bakal Pasang Kamera dan AI
Gadget
Review Infinix GT 30: Smartphone Gaming Padahal Aslinya All-Rounder!
Ini adalah Infinix GT 30! Ya, hape ini adalah versi lebih terjangkau dari Infinix GT 30 Pro yang sudah pernah kita review. SoC nya pakai Dimensity 7400. Main Mobile Legend bisa sampai 120 fps! Suhunya juga nggak gampang panas. Fitur bypass charging juga ada. Layarnya AMOLED dengan bezel tipis. Yang nggak kalah penting, dia juga […]
Fossil Hadirkan Dua Jam Tangan Kolaborasi Marvel Fantastic Four
Fossil mengumumkan hadrinya dua jam tangan eksklusif hasil kolaborasi Marvel Studios Fantastic Four: First Steps. Jam tangan pertama mengusung desain mirip jam tangan komputer milik Mr Fantastic. Sedangkan jam tangan kedua punya desain yang terinspirasi Galactus, sang villain. Jam kolaborasi yang pertama adalah LE1210SET. Desainnya terinspirasi dari jam tangan komputer milik Reed Richard, sang Mr […]
Review “Singkat” Samsung Galaxy S25 Edge: Smartphone Pemicu Pro-Kontra! Sebaik/Seburuk Itu?
Ini hape yang memicu Pro-kontra. Banyak orang, bahkan kami pun tidak yakin dengan hape ini saat pertama kali spesifikasinya diumumkan. Asumsi awalnya: ini hape yang speknya dipangkas, boros, performa rendah, dan kemahalan. Cuma modal penampilan saja. Ini membuat terjadinya pro kontra, antara yang sudah beneran pakai versus yang hanya bahas spek atau hanya pegang-pegang sebentar […]
Review Amazfit Active 2 Square: Smartwatch “Kotak” yang Klasik, Canggih, dan Baterai Awet!
Kalian sedang cari smartwatch bentuk kotak yang canggih, baterai irit, fitur melimpah tapi ukurannya gak terlalu besar? Yang satu ini mungkin bisa jadi jawabannya. Ini adalah Amazfit Active 2 Square Premium Edition. Desainnya kotak dengan gaya klasik, tapi ukurannya tetap ringkas dan ringan! Layarnya AMOLED dengan tampilan yang keren, dan pakai Sapphire Glass, jadi lebih […]
Laptop
Review Acer Predator Helios 16 AI: Laptop Gaming 16″ Paling “Monster” dari Acer!
Ini adalah Acer Predator Helios 16 AI! Walaupun ukurannya 16 inci, Predator Helios 16 AI dirancang untuk jadi sebuah Desktop Replacement yang bisa dibawa-bawa. Karena kalau dilihat dari spesifikasinya, yang satu ini bukan cuma kenceng, tapi sudah beneran “mentok kanan”. Jadi wajar aja kalau disebut sebagai Desktop Replacement dengan performa kelas Workstation yang siap dipakai […]
Review ASUS ROG Strix G16 (G615): Laptop ROG Kelas Atas dengan RTX 5080, Sekencang Apa?
Ini adalah Laptop Gaming Monster dari ASUS yang performanya super kencang. Karena yang satu ini sudah pakai diskrit GPU NVIDIA®. GeForce RTX™ 5080 Laptop GPU yang Game Changing! Dipakai buat gaming atau content creation? Jelas kenceng banget, TGP-nya up to 175 Watt! Mau dipakai buat AI juga aman, kapasitas VRAM-nya super lega di 16 GB GDDR7. […]
Review Axioo Hype AI 5: Racikan Kencang Merk Lokal dengan Intel Core Ultra
Ini Laptop tipis dan ringan pertama dari Axioo dengan prosesor Intel Core Ultra. Menariknya, dia ga pake prosesor seri U yang hemat daya. Dia langsung pake prosesor Intel Core Ultra seri H yang lebih kencang dengan “Base Power” lebih tinggi dan jumlah Core lebih melimpah. RAM-nya, DDR5 tipe SO-DIMM, bukan Onboard, jadi bisa kita Upgrade […]
Review ADVAN Workplus AI: Makin “Plus” Buat Kerja Berat dan Main Game
Laptop tipis dan ringan ini punya tipe GPU yang mirip seperti Handheld PC Gaming yang pakai “Ryzen Z1 Extreme”. Jadi Laptop ini sanggup memainkan Game AAA dengan lancar, dengan Setting grafis yang telah disesuaikan. Prosesornya juga ga kaleng-kaleng. Dia pakai konfigurasi 8-Core AMD Zen 4 jadi cocok buat aplikasi yang suka Core melimpah. RAM-nya, DDR5 […]
Gaming
PowerWash Simulator 2 Umumkan DLC Bertema Star Wars
PowerWash Simulator 2 resmi umumkan DLC Star Wars, hadirkan 6 lokasi ikonik seperti Hoth dan Tatooine dalam kolaborasi bersama Lucasfilm Games.
Meski PowerWash Simulator 2 hanya berputar pada membersihkan obyek dengan gunakan semprotan air bertekanan …
Masalah DRM PlayStation Indikasikan Game Digital Bisa Kadaluwarsa
Pemain PlayStation dibuat khawatir setelah muncul indikasi DRM baru yang memaksa game digital PS4 dan PS5 melakukan verifikasi online tiap 30 hari.
Komunitas PlayStation dibuat heboh dengan temuan beberapa pemain yang indikasikan adanya sistem DRM bar…
ARC Raiders Tambahkan Upgrade Visual PSSR Untuk Pemain PS5 Pro
ARC Raiders tambahkan dukungan upgrade PSSR di PS5 Pro lewat update 1.26, membawa visual lebih tajam, frame rate stabil, dan minimalkan ghosting.
Setelah Sony resmikan penambahan teknologi grafik PSSR untuk PS5 Pro pada Februari lalu, game yang miliki…
Resident Evil Requiem Siapkan Mini Game Bertema Pertarungan
Capcom beri konfirmasi bahwa mini game Resident Evil Requiem sudah di tahap akhir pengembangan, dan bisa meluncur dalam beberapa hari ke depan.
Bila Anda masih belum puas memainkan Resident Evil Requiem, maka bersiaplah untuk kembali bertarung di dala…
Direct Release
- Dreame Resmikan Store ke-6 di Indonesia, Hadir Perdana di Surabaya
- Direct Release: Amankan AI Frontier, Palo Alto Networks Mampukan Pelaku Usaha Indonesia untuk Berinovasi dengan Aman
- Direct Release: Sennheiser Luncurkan Headphone Closed-Back HD 480 PRO
- Direct Release: Alibaba Pertahankan Posisi sebagai Penyedia Cloud Terbesar di Asia Pasifik berdasarkan Pendapatan, dengan Pangsa Pasar yang Terus Meningkat
- Internet Berkecepatan Tinggi dari Luar Angkasa, Starlink, Kini Hadir di Blibli Store
Techno Update
- Jangan Asal Beli Lampu! Ini Tips Pencahayaan Konten yang Perlu Dipahami
- Kasus Crowdstrike Bikin Rugi, Synology Bagikan 5 Tips Perkuat Ketahanan Sistem IT
- Tips Memilih Printer Multifungsi Untuk Kebutuhan Rumah (Feat. Brother)
- 20+ Kursus/Pelatihan GRATIS Bidang IT Bersama Trainer Profesional
- Tips Memilih Laptop Untuk Pelajar, Kuliah dan Pekerjaan Ringan
Gadget
Laptop
Gaming
Components
Accessories
Components
- Upgrade NVIDIA RTX 2060 Super / RTX 3060 Ti ke RTX 5060 Ti 16 GB: Worth It?
- 96 Core Jalan Di 5.8 GHz, Ryzen Threadripper PRO Pecahkan Rekor Baru!
- Review Colorful iGame GeForce RTX 5080 Advanced OC: Garang, Kencang untuk 4K, Dingin, dan Kaya Fitur
- Review NVIDIA GeForce RTX 5090 FE: Kencang, Banyak Fitur Baru, Bodi Tipis, Suhu Tetap Aman
Accessories
Direct Release
- Dreame Resmikan Store ke-6 di Indonesia, Hadir Perdana di Surabaya
- Direct Release: Amankan AI Frontier, Palo Alto Networks Mampukan Pelaku Usaha Indonesia untuk Berinovasi dengan Aman
- Direct Release: Sennheiser Luncurkan Headphone Closed-Back HD 480 PRO
- Direct Release: Alibaba Pertahankan Posisi sebagai Penyedia Cloud Terbesar di Asia Pasifik berdasarkan Pendapatan, dengan Pangsa Pasar yang Terus Meningkat
- Internet Berkecepatan Tinggi dari Luar Angkasa, Starlink, Kini Hadir di Blibli Store
Techno Update
- Copilot 3D Ubah Gambar 2D Jadi 3D Cuma 1 Klik, Gratis! Ini Cara Menggunakannya!
- Jangan Asal Beli Lampu! Ini Tips Pencahayaan Konten yang Perlu Dipahami
- Kasus Crowdstrike Bikin Rugi, Synology Bagikan 5 Tips Perkuat Ketahanan Sistem IT
- Tips Memilih Printer Multifungsi Untuk Kebutuhan Rumah (Feat. Brother)
- 20+ Kursus/Pelatihan GRATIS Bidang IT Bersama Trainer Profesional































